作者/来源:小睿 发布时间:2020-06-16
互联网时代下,为了网站更好的发展,网站加速技术成为各大网站需要注意的方面。近些年来,web技术不断地发展,越来越多的应用基于web发布,因而,web应用能够被用户快速访问成为一个被所有开发web应用都关注的问题。
在这种情况下,各种web加速技术也被提出来,用以提高最终用户访问web的体验。

网站
所谓的网站加速是基于http协议优化网站内容,达到提高用户访问网站的体验。简单来说,网站加速就是网站内容优化。网站内容的优化一般是从网页关联文件大小、网页结构、浏览器缓存以及程序代码四个方面来进行。
在进行网站内容优化时已经出现了一些工具辅助用户来进行优化,因而,每个WEB应用的开发者或管理者都可以根据辅助工具的提示进行优化。
网站加速是对网站内容的优化,这也就是通过使用CDN进行内容优化加速。所谓的CDN是内容分发网络,通过在互联网中增加新的网络架构,将网站内容发送到离用户最近的节点,方便用户存取,提高了访问网站的响应速度。
检测网站是否使用CDN服务的工具有哪些推荐?
对于了解网站优化的用户而言,一定听说过CDN加速。使用CDN加速可以将网站内容分发到多个服务器节点上,当用户访问网站时,将就近为用户分配相关内容,进而提高网站的访问速度。CDN加速这么优秀,那么如何检测你的网站是否已经使用了CDN加速服务了呢?
1)站长工具Ping检测
站长工具是一款为站长建站时对网站质量查询与制作提供相关服务的工具,目前而言已经逐渐成为了站长的必备工具。
在功能强大的站长工具中,站长工具Ping检测是一款可以对多个地点的服务器进行Ping操作以检测服务器响应速度。使用方法是打开站长工具Ping在线测试网址,然后在检索栏中输入索要检测的网站即可进行测试。

站长工具Ping检测
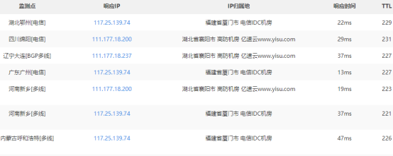
对于同一个网址的不同地区进行测试,若各个地区所响应的IP不同,则表明这个网站开启了CDN加速,此外还可以看到该网站在不同地区的响应时间与速度。

Ping检测结果
2)奇云测
奇云测是360旗下的产品,是一款可以快速测试网站在全国各地打开速度的工具。该工具在测试完成之后,会形成一个全国的访问速度示意图,绿色表示速度快,红色表示速度慢,灰色表示没有测试点。但是目前该工具已经不能访问。
3)Yslow
YSlow是Yahoo发布的一款基于FireFox的插件,这个插件可以分析网站的页面,并告诉你为了提高网站性能,如何基于某些规则而进行优化。该插件可以直接在谷歌的拓展工具中进行下载使用,还适用于Google与Opera等浏览器。
该工具可以对网站进行打分分析,并提示用户需要在哪些方面进行网站的优化加速。